10.5 Основные
устройства участковых станций
В настоящем разделе вы
познакомитесь с устройствами участковых станций, локомотивного, грузового и
вагонного хозяйств, сортировочных и пассажирских устройств.
После изучения раздела
вы должны знать виды устройств на участковых станциях, их назначение и понимать
принцип их размещения.
10.5.1 Виды
устройств на участковых станциях

10.5.2
Сортировочные устройства участковых станций
Для расформирования и
формирования участковых, сборных и передаточных поездов и подборки местных
вагонов по пунктам погрузки-выгрузки предусматривают сортировочные устройства,
которые включают сортировочные парки, горки малой мощности, вытяжные пути и
стрелочные горловины на уклонах.

При отсутствии горки малой мощности маневровая
работа в сортировочном парке выполняется на вытяжных путях, укладываемых в
обоих концах этого парка. Один из них, имеющий лучший план и полную длину,
является основным и предназначается для расформирования и формирования поездов.
На втором формируют поезда, подбирают местные вагоны по группам, выполняют
операции, связанные с обслуживанием грузового района, путей отцепочного ремонта
и др.
Длину основного вытяжного пути
обычно принимают равной длине путей приемо-отправочного парка. Длина второго
вытяжного пути, а в трудных условиях и основного (при наличии обоснований)
может быть равна половине длины состава с добавлением длины локомотива.
Стрелочные горловины
сортировочного парка и участок удаления на вытяжном пути (примерно 50 м)
целесообразно располагать на спуске до 1,5‰ в сторону сортировки, чтобы создать
благоприятные условия для маневровой работы.
1 – профиль вытяжного пути 2 - профиль вытяжного пути
специального профиля 3 – профиль горки 4 - профиль элементов спускной
части горки 5 - выход на главные пути

При значительном объеме переработки вагонов на
станции (более 250), на основном вытяжном пути устраивают горку малой мощности.
Голова сортировочного парка от первой
разделительной стрелки до предельных столбиков проектируется возможно более
короткой за счет группировки путей в пучки и применения симметричных стрелочных
переводов марки 1/6. Компактная конструкция головы парка обеспечивает более высокую
перерабатывающую способность, позволяет уменьшить высоту горки и суммарную мощность
тормозных средств.
Для возможности отправления сформированных поездов предусматривают
выход из сортировочного парка на главные пути с части путей сортировочного
парка в обход вершины горки.
Расстояние
от вершины горки до остряков первой разделительной стрелки может быть принято
25–30 м. Высота горки малой мощности обеспечивает проход бегуна (плохого) до
расчетной точки, которую выбирают на расстоянии 50 м за выходным концом
парковой тормозной позиции или башмакосбрасывателей.
В пределах спускной части размещают тормозные
позиции с установкой горочных вагонных замедлителей или
замедлителей облегченной
конструкции. До оборудования горок малой мощности устройствами комплексной
механизации и автоматизации могут применяться башмачные позиции. На подгорочных
путях тормозные позиции устанавливают на расстоянии 25–30 м от предельных
столбиков.
Продольный
профиль, план горловины и техническое оснащение горок малой мощности
проектируют согласно Правилам и нормам проектирования сортировочных устройств.
В сортировочных парках участковых станций должны быть пути
для накопления и формирования участковых и сборных
поездов на прилегающие к станции участки, а
иногда и для формирования сквозных поездов, а также пути для местных вагонов.
Составы прибывающих участковых и
сборных поездов расформировываются на пути сортировочного парка в соответствии
с назначением вагонов. Число сортировочных
путей зависит от количества назначений по плану формирования, числа перерабатываемых вагонов в сутки
по этим назначениям и объема
местной работы.
Для накопления и формирования
участковых и сборных поездов для каждого примыкающего к станции назначения должно быть не
менее одного пути длиной, равной
длине приемо-отправочного пути.
Для формирования сквозного поезда
(при его наличии) выделяется отдельный путь. Для местных вагонов, прибывающих в адрес
станции, выделяется не менее одного пути.
По одному пути выделяется для
вагонов, требующих ремонта, для бездокументных и других вагонов, не менее
одного пути для вагонов с опасными грузами.
Длина сортировочных путей принимается на 10 % больше
длины приемо-отправочных путей. Длина путей
для местных вагонов зависит от числа
накапливающихся на них вагонов.
Число вытяжных путей устанавливается
в зависимости от числа перерабатываемых вагонов и способа производства маневров по формированию и расформированию участковых и
сборных поездов. При определении времени занятия вытяжных путей учитываются все виды
маневровой работы, выполняемые на вытяжке
(маневры по изменению веса транзитных поездов, расформированию и формированию составов, подборке
вагонов для подачи на подъездные
пути, грузовой район и прочие пункты, расстановке и сборке вагонов на пунктах выгрузки
и др.).
В проектах развития станций определяют общее время занятия
вытяжных путей
, где
- число расформировываемых и формируемых поездов (отдельно
по категориям);
– время на расформирование и формирование поездов (отдельно
по категориям);
– число маневровых передвижений, занимающих вытяжной путь
(подача и уборка вагонов на грузовой двор, перестановка групп вагонов
группового поезда, перестановка «больных» вагонов);
– продолжительность этих передвижений.
, где
- продолжительность экипировки
локомотивов за сутки и смены бригад в размере 1,0 – 1,5 ч при тепловозах.
Обычно в проектах участковых станций
предусматривают укладку вытяжных путей в обоих концах сортировочного парка,
если даже по расчету получается один вытяжной путь. При небольшом объеме работы
на первую очередь допускается укладка одного вытяжного пути.
10.5.3
Локомотивное и вагонное хозяйство
Локомотивное хозяйство
Подготовка локомотивов в рейс осуществляется в
локомотивном хозяйстве. В зависимости от
рода тяги локомотивное хозяйство может быть электровозным, тепловозным и смешанным (в стыковых пунктах
разных видов тяги). Устройства
локомотивного хозяйства сооружаются общими для поездных и маневровых
локомотивов.
Локомотивное хозяйство включает комплекс устройств для
технического обслуживания текущего ремонта и экипировки локомотива: локомотивное депо с мастерскими и
служебно-бытовыми помещениями; экипировочные устройства; пути для прохода и стоянки локомотивов;
устройства энергоснабжения, теплоснабжения,
служебно-технические здания. На территории локомотивного хозяйства размещаются также пути
для стоянки запаса локомотивов,
пожарного и восстановительного поезда, котельная и иногда материальный склад.
В эксплуатационных депо выполняются: техническое
обслуживание ТО-2 и ТО-3, следующие виды ремонтов, текущий
ремонт ТР-1, ТО-4 (обточка колесных пар) и неплановые ремонты по устранению
неисправностей при эксплуатации. В
эксплуатационно-ремонтных депо кроме указанных ремонтов выполняются
ремонты СР (включает в себя ремонты ТР-3 и КР-1).
Для указанных видов ремонтов применяют
депо в основном прямоугольного типа, иногда веерного типа, реконструируемые из паровозных.

Экипировочные устройства при тепловозной тяге предназначаются для снабжения
тепловозов топливом, очищенной водой для охлаждения двигателей,
дистиллированной водой для доливки аккумуляторов, песком и смазочными маслами.
Все эти операции должны максимально совмещаться.
Экипировочные устройства при электровозной тяге обеспечивают снабжение
электровозов песком, смазочными маслами и обтирочными материалами. К этим
устройствам добавляют небольшие устройства для снабжения топливом, водой и
смазочными материалами маневровых тепловозов.

Кроме того, на экипировочных устройствах может осуществляться внешняя
очистка и обмывка локомотивов, обдувка тяговых электродвигателей и
электрической аппаратуры электровозов и тепловозов.
Число мест осмотра и экипировки локомотивов.
, где
– число локомотивов, поступающих в экипировку
и на техническое обслуживание в суки;
– продолжительность
занятия экипировочного места локомотивом с учетом времени на постановку и
вывод;
– коэффициент
неравномерности поступления локомотивов в экипировку в зависимости от
неравномерности прибытия поездов в данный пункт.
|
|
|
|
|
|

Устройства снабжения
локомотивов песком могут различаться по мощности, конструкции и размещению
склада сухого песка. Поступающий летом сырой песок хранится до просушки на
открытой площадке, располагаемой последовательно с пескосушилкой, а запас сухого песка хранится в складах башенного или шатрового типа. Для экипировки поездных тепловозов предусматривается склад
дизельного топлива. Если депо обслуживает электровозы, емкость дизельного
топлива для маневровых тепловозов размещается на территории склада смазочных
масел.
На приемо-отправочных путях предусматривается
снабжение песком, при тепловозной тяге -
возможность снабжения тепловозов смазочными маслами. В междупутьях размещают опоры
пескораздаточных бункеров,
раздаточные колонки смазочных масел.
С пескораздаточными для электровозов
совмещены специальные площадки для осмотра токоприемников. Для хранения
дизельного топлива применяются в основном
наземные металлические резервуары емкостью по 1000, 2000 и 3000 м3
длина эстакады для слива топлива применяется 30 - 66 м в зависимости от емкости
склада.
Расстояние от наземных резервуаров дизельного
топлива до оси пути следования организованных поездов должно быть не менее 30
м, до оси пути с маневровым движением - не менее 25 м.
Взаимное расположение
устройств пескоснабжения, депо и склада масел может меняться в зависимости от
местных условий. В пунктах, где прибывающие электровозы и тепловозы не проходят техническое
обслуживаниеТО-2, эти локомотивы
экипируются на открытых путях. Продолжительность экипировки электровозов принимается 25 мин, тепловозов - 30 мин. Число
экипировочных мест определяется аналогично расчету для электровозов.


![]()
Схемы размещения устройств на территории локомотивного
хозяйства
На территории локомотивного хозяйства размещают кроме
устройств для ремонта и экипировки
локомотивов пути стоянки локомотивов в ожидании подачи под составы. Число таких
путей определяют из условия нахождения на них
10-15 % локомотивов от общего количества прибывающих за сутки, длина каждого
пути рассчитывается на установку 4-5 локомотивов.
Длина путей стоянки пожарного и восстановительного поезда
принимается для поездов I категории 300 м, II
категории - 250 м и III категории - 200 м; они располагаются рядом с главными
путями и должны иметь двусторонние выходы на
главные пути.
Для размещения локомотивного
хозяйства выбирается площадка таким образом, чтобы время уборки локомотивов от поездов и
подачи локомотивов к составам было
минимальным, а число пересечений с маршрутами следования поездов было наименьшим.
Общая планировка устройств локомотивного хозяйства должна обеспечивать: компактность
размещения устройств, поточность
операций при проходе локомотивов на пути экипировки, на пути стоянки готовых
локомотивов и к выходу на станцию, возможность дальнейшего развития.
Выбор схемы зависит главным образом от местных условий.
На рисунке приведены возможные варианты расположения
устройств локомотивного хозяйства при тепловозной и электровозной тяге: с последовательным расположением экипировочных устройств и локомотивного депо и с параллельным.



Вагонное хозяйство
Устройства вагонного хозяйства предназначены для
подготовки вагонного парка к перевозкам,
постоянного контроля его состояния, ремонта вагонов для поддержания их в
состоянии, обеспечивающим безопасность перевозок.
К устройствам вагонного хозяйства
относятся: вагонные депо, пункты технического обслуживания вагонов, пункты
подготовки вагонов к перевозкам и пункты опробования тормозов.

Пункты технического обслуживания
вагонов (ПТО) размещаются на определенных сортировочных и участковых станциях; в их задачу
входит устранение технических
неисправностей вагонов транзитных поездов и формируемых на данной станции поездов, для проследования их
без ремонта по гарантийным участкам.
Эти пункты имеют основное здание, устройства для хранения и раздачи смазки,
воздухопроводную сеть, мощеные дорожки для транспортировки запасных частей и деталей, установки
сигнализации для автоматического
ограждения осматриваемых составов, освещение, двустороннюю громкоговорящую связь и
другие устройства.


В приемо-отправочных парках
участковых и сортировочных станций, на которых располагаются ПТО сетевого значения, устраиваются
уширенные междупутья 6 и 8,2 м, для проезда машин с
устройствами подъема вагонов для замены
колесных пар без отцепки вагонов.
На участковых станциях, где
происходит смена локомотивов, и станциях, предшествующих затяжному спуску, устраиваются пункты
контрольно-технического
обслуживания вагонов (ПКТО) для выявления и устранения неисправностей, угрожающих
безопасности движения.
Для текущего ремонта грузовых вагонов
с отцепкой от поезда, но без подачи в депо устраивают механизированные пункты ремонта вагонов, располагаемые рядом с крайними путями
сортировочного парка.
Для безопасного проследования поездов
предусматривается организация постов опробования автотормозов на станциях, где производится смена локомотивных бригад.
Вагонное депо размещается на
сортировочных станциях, станциях выгрузки и
массовой подготовки порожних вагонов под погрузку. В тех случаях, когда по объему работы на крупных участковых
станциях необходимо иметь вагонное депо, его располагают на одной площадке с
локомотивным хозяйством, чтобы использовать общие коммуникации.
10.5.4 Принципы
размещения основных устройств на участковых станциях
Размещение
устройств участковых станций должно быть рациональным. Основной принцип этого
размещения заключается в приближении устройств к местам обслуживания ими
объектов станции и обеспечении поточности этого обслуживания. Размещение основных устройств
станции при строительстве и реконструкции станции учитывается в проекте. Для разработки проекта необходимы
также размеры движения, размеры местной работы станции на расчетный срок (5-й и 10-й год эксплуатации), схема тягового обслуживания
участка. Проектирование начинается с выбора схемы станции, при этом учитывается заданная
станционная площадка, предполагаемые стоимость строительства и
эксплуатационные расходы в процессе
эксплуатации.
|
Определяются размеры
устройств: |
|
число
приемо-отправочных путей для приема пассажирских и грузовых поездов; |
|
число сортировочных и
вытяжных путей; |
|
размеры грузовых
устройств и другие устройства. |
При расчете путевого развития исходными данными является вагонооборот станции
на расчетный период (представляется в виде косых таблиц) и масса поезда. На
основании данных о грузовом движении,
составляется диаграмма вагонопотоков, а затем поездопотоков, на которой
показываются грузовые поезда и добавляются пассажирские поезда.
диаграмма вагонопотоков диаграмма поездопотоков

Проект выполняется на основании
задания, в котором указывается вид тяги, весовые нормы грузовых поездов, полезная длина
путей, схема тягового обслуживания.
Задание выдает ОАО «РЖД», а при небольшой стоимости — дорога. Проектирование ведется в две стадии: технико-экономическое обоснование (проект) и рабочая документация.
Проектирование путевого развития начинается с
расположения главных путей и пассажирских
устройств.
Пассажирские устройства располагают со стороны населенного пункта. Затем
разрабатывают конструкции горловин парков.
При этом стараются обеспечить параллельность приема с нескольких подходов, параллельность отправления на все
направления, независимость маневровых передвижений, для чего горловины секционируются.
Обеспечивают независимый выход из
сортировочного парка на главные пути для возможности отправления сформированных поездов из
сортировочного парка.
Пример конструкции горловин участковой станции
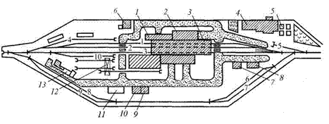
Путевое развитие на участковых станциях объединено в парки:
Пассажирский – для пропуска транзитных поездов, следующих с остановкой, для приема,
отправления поездов местного формирования.
Как правило, это небольшие парки из 2-3 путей, расположенные у
пассажирского здания. В необходимых случаях для отстоя и обработки местных
пассажирских составов устраивают 1-2 пути, сообщающихся с приемо-отправочными
путями.
Приемо-отправочные – для поездов грузового движения.
В зависимости от схемы на станции может быть один или два парка. В
последнем случае их специализируют по направлениям движения и, кроме того,
выделяют ходовой путь для пропуска локомотивов в депо и обратно. Число
приемо-отправочных путей зависит от размеров и характера движения, технологических норм обработки поездов, вида тяги, длины
тяговых плеч и наличия на станции депо. Как правило, в приемо-отправочном парке
должно быть 3-6 путей, а на двухпутных линиях с большими размерами движения 5-7.
Число путей может быть увеличено, если к станции примыкают несколько
железнодорожных линий и крупные подъездные пути.
Сортировочный – число путей в нем зависит от характера и размеров движения, количества
местных и перерабатываемых вагонов, методов сортировочной работы, числа
назначений сортировки.
Однако даже при небольшом объеме сортировочной работы необходимо на каждое
примыкающее направление выделять не менее, чем один путь и, кроме того,
предусматривать по одному пути для местных и неисправных вагонов.
Полезная длина сортировочных путей зависит от наибольшего числа вагонов,
намечаемых под накопление, т.е. длина пути, предназначенного для накопления и
формирования целых составов, должна быть не менее длины грузового поезда, а для
местных и неисправных вагонов не менее чем 200 – 300 м.
Расформирование и формирование составов должно быть изолировано от приема и
отправления поездов. На станциях, перерабатывающих свыше 300 вагонов в сутки,
требуется устраивать втяжные пути
специального профиля или горки малой мощности.
Пассажирское хозяйство на участковых станциях
Участковые станции обычно располагаются в достаточно
крупных населенных пунктах, поэтому на участковые станции поступают
пассажирские поезда сквозные,
конечные, пригородные. Устройства для обслуживания пассажиров на участковых станциях
состоят из путевого развития для приема, отправления, отстоя поездов, пассажирского здания,
платформ, переходов в одном или разных уровнях. Количество и размеры
пассажирских устройств зависят от величины населенного пункта, количества и
назначения пассажирских поездов.
Число пассажирских приемо-отправочных путей на участковых
станциях устанавливают в зависимости от размеров движения. На однопутных и двухпутных линиях при размерах движения до 48 пар
рекомендуется предусматривать два приемо-отправочных пути (рис. а, б). На
двухпутных линиях при размерах движения более 48 пар в сутки рекомендуется
принимать 3—4 пути, включая главные (рис. в, г). На этих схемах пропускают по главным путям высокоскоростные
пассажирские поезда. В этом случае
платформы между главными путями располагать не рекомендуется, чтобы не
искривлять главные пути. На схеме (рис. г) для приема четных
пассажирских поездов используются пути II и 4, для приема
нечетных пассажирских поездов — 3 и 5 пути.
Пассажирское здание участковой станции должно иметь все
необходимые устройства для обслуживания пассажиров. В основном здании могут
располагаться помещения для
работников службы движения и пассажирской и других. На участковых станциях строят пассажирское здание на 50,
100 и 300 человек.

Платформы устраиваются низкие для удобства технического осмотра
проходящих пассажирских поездов. Только при больших размерах местного пассажирского
движения и обращении моторвагонных секций без подножек устраивают высокие платформы.
Длина пассажирских платформ должна
соответствовать длине обращающихся пассажирских
поездов на 5 год эксплуатации. При этом на вновь сооружаемых станциях необходимо предусматривать удлинение платформ до
650 -850 м, а на станциях, обслуживающих только пригородное движение, до 350
м, а в обоснованных случаях до 500 м.
Ширину основной платформы принимают не менее 6 м.
Промежуточная платформа должна быть шириной не менее 6 м, на линиях III и IV категории
не менее 4 м. Если на платформе располагается павильон или вход в тоннель или сход с пешеходного моста, расстояние от
них до края платформы должно быть не менее 2 м.
На линиях, где предусматривается
движение пассажирских поездов со скоростями
более 140 км/ч, расстояние между крайней гранью сооружений и бортом платформы
должно быть не менее 3 м.
Переходы между платформами устраивают
в одном уровне с путями или в разных уровнях: пешеходные мосты и тоннели. Устройство переходов в разных уровнях обязательно, если
пассажирам для прохода к платформам нужно пересекать железнодорожные пути с интенсивным
движением поездов (более 50 пар грузовых и пассажирских
поездов в сутки). Переходы в разных уровнях
обязательны на линиях, где предусматривается движение пассажирских
поездов со скоростями 140—200 км/ч при пассажиропотоке через переход более 75
000 человек в год.
При выборе типа перехода
предпочтение отдается тоннелям. Пешеходные мосты в Северной строительно-климатической зоне сооружают крытыми
(остекленными, галерейного типа).
На участковых станциях, являющихся конечными
для местных и пригородных поездов, проектируют пути для технического осмотра, экипировки и стоянки пассажирских составов
и ремонта вагонов. Эти пути укладывают вблизи пассажирских путей с прямым
выходом на них. На некоторых участковых станциях укладывают тупиковые пути для
служебных, почтовых и багажных вагонов, а на некоторых узловых станциях — для
беспересадочных вагонов.
Грузовое хозяйство
Для обслуживания промышленных и
других предприятий и организаций, не имеющих подъездных путей, а также населения на
участковых станциях сооружают грузовые
районы.
В грузовых районах участковых станций
выполняются грузовые и коммерческие операции: погрузка, выгрузка и хранение грузов, оформление документов, сортировка контейнеров и
мелких отправок, подготовка вагонов к погрузке.
Для выполнения грузовых операций в
грузовых районах имеются следующие устройства:
-
крытые склады;
-
контейнерные площадки;
-
площадки или повышенные пути высотой 1,5 м
или 2,4—2,5 м, а при значительных размерах выгрузки эстакады высотой 4 м;
-
платформы для колесных
грузов и самоходных единиц; - платформы для
непосредственной перегрузки из вагона на автотранспорт.


Крытые склады для хранения штучных и
тарных грузов устраивают с внешним расположением путей, а при больших объемах работы строят склады с вводом путей внутрь склада.
Ширина крытых складов с внешним
расположением погрузочно-выгрузоч-ных
путей принимается 12, 18 и 24 м. Для перемещения грузов вдоль склада устраивают
рампы шириной не менее 3 м со сторойЫ железной дороги и не менее 1,5 м со
стороны автотранспорта. Размеры крытых складов, крытых и открытых грузовых платформ устанавливают в зависимости от количества
и рода груза, сроков хранения и применяемых средств механизации и
автоматизации.
Площадки для переработки контейнеров
должны оборудоваться элект-рокозловыми кранами
пролет крана следует принимать 16, 25 и 32 м. Пункты переработки крупнотоннажных контейнеров оснащают электрокозло-выми
кранами пролетом 25 и 32 м с грузоподъемностью 24 и 30,5 т.
Часть склада используется для сортировки мелких отправок.
Высокая платформа для колесных и самоходных грузов может быть комбинированной с боковым и
торцевым выгрузочным фронтом и только боковым длиной
37 и 54 м. Ширина боковой и торцевой платформы по 6 м, уклоны пандусов с
высокой платформы 1:10. Для выгрузки угля и минерально-строительных материалов
может устраиваться повышенный путь высотой 1,5 м или 2,4—2,5 м, а при большом
объеме переработки этих грузов — эстакада высотой 4 м. Склад опасных грузов размещается в удалении от других складов.
Рядом с грузовым районом уложен путь
для выставки и подсортировки вагонов.
К грузовому району должны быть
проложены удобные подъезды из города. Перед въездом на грузовой район надо предусмотреть
специальную площадку, достаточную для размещения
автомашин, проходящих через станцию в течение 0,5 ч его работы. В пределах
грузового района необходимо иметь проезды
достаточной ширины, обеспечивающие беспрепятственное движение автомашин с прицепами, поворота и подачи
их к месту работы без помех для
погрузки-выгрузки у соседних фронтов. При одностороннем расположении
складов ширину проездов назначают не менее 16 м, а при двустороннем не менее 25
м. Территория грузового района оборудуется средствами связи, противопожарными средствами и др.
Грузовые районы ограждаются по
периметру постоянным забором, размещенным
не ближе 3,10 м от оси ближайшего пути и не менее 1,5 м от края проезжей части автодороги.
Примыкание подъездных путей
В районе участковых станций часто размещаются различные предприятия, имеющие свои подъездные
пути. На рисунке показаны варианты примыкания подъездных путей к участковой
станции. Если предприятие отправляет или
получает отправительские маршруты, подъездные пути должны примыкать
непосредственно к приемо-отпра-вочным
путям станции, причем прием и отправление с подъездного пути не должно
мешать приему и пропуску пассажирских поездов по главным путям (вар. 1, 2, 4).
Подъездные пути, на которые поступают вагоны из сортировочного парка, а также подъездные пути с небольшой
погрузкой-выгрузкой, могут иметь
примыкание к сортировочному парку или к вытяжному пути.

Литература:
А к у л и н и ч
е в В.М., Правдин Н.В., Болотный В.Я., С а в ч е н к о И.Е. Железнодорожные
станции и узлы.
Правила и
технические нормы проектирования станций и узлов на железных дорогах колеи 1520
мм.
Контрольные
вопросы:
1.
Какие виды устройств для маневровой и сортировочной работы характерны для
участковых станций?
a.
Сортировочные горки повышенной и большой мощности
b.
Сортировочные горки средней и большой мощности
c.
Сортировочные горки малой мощности и вытяжные пути
Правильный
ответ: с
2.
Какие устройства размещают на участковой станции для снабжения тепловозов
водой?
a.
Экипировочные устройства
b.
Гидравлические колонки
c.
Ремонтное депо
Правильный
ответ: а
3.
Какие парки путей характерны для участковых станций?
a.
Пассажирский, транзитный и грузовой
b.
Приемо-отправочные, транзитный, сортировочный
c.
Приемо-отправочные, пассажирский и сортировочный
Правильный
ответ: с
4.
От чего зависит расчетное число мест осмотра и экипировки локомотивов при
проектировании?
a.
От величины эксплуатируемого парка локомотивов
b.
От производительности поездного локомотива
c.
От продолжительности занятия экипировочного места локомотивом
Правильный
ответ: с
5.
Какое соотношение длины приемо-отправочных и сортировочных путей
учитывается при проектировании участковых станций?
a.
Длина сортировочных путей принимается на 10 %
больше длины приемо-отправочных путей
b.
Длина сортировочных путей принимается на 10 %
меньше длины приемо-отправочных путей
c.
Длина сортировочных путей принимается равной
длине приемо-отправочных путей
Правильный ответ: а
6.
Сколько путей для накопления и
формирования участковых и сборных поездов предусматривается при проектировании участковой станции?
a.
два пути
b.
не менее одного пути длиной, равной длине
приемо-отправочного пути
c.
для каждого примыкающего к станции
назначения не менее одного пути длиной, равной длине
приемо-отправочного пути
Правильный ответ: с
7.
От каких параметров зависит число вытяжных путей на участковой станции?
a.
от числа перерабатываемых вагонов и способа
производства маневров по формированию и расформированию участковых и сборных поездов
b.
от количества и мощности маневровых локомотивов
c.
от числа маневровых районов на станции
Правильный
ответ: а
8.
На каких путях парков станции допускается предусматривать
снабжение локомотивов песком, при тепловозной тяге - возможность снабжения тепловозов смазочными маслами?
a.
на сортировочных
b.
на приемо-отправочных путях
c.
на соединительных
Правильный ответ: b
9.
На каких станциях размещают пункты технического обслуживания вагонов?
a.
На всех
b.
На всех сортировочных и
участковых без исключения
c.
На определенных владельцем инфраструктуры
сортировочных и участковых станциях
Правильный ответ: с
10.
Какое условие принимается во внимание при
проектировании горки малой мощности на участковой станции?
a.
обеспечение прохода хорошего бегуна
до расчетной точки (на расстоянии 100-150 м за выходным концом парковой тормозной
позиции или башмакосбрасывателей)
b.
обеспечение прохода плохого бегуна
до расчетной точки (на расстоянии 50 м за выходным концом парковой тормозной
позиции или башмакосбрасывателей)
c.
обеспечение прохода плохого бегуна
до парковой тормозной позиции
Правильный
ответ: b